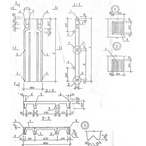
Вентблок ВБ 2-30 лн предназначен для использования в железобетонных конструкциях. Он обеспечивает надежное соединение элементов и обеспечивает необходимую вентиляцию. Вентблоки ВБ широко применяются в строительстве зданий, мостов, тоннелей и других сооружений, где требуется крепкое и долговечное соединение железобетонных элементов.









