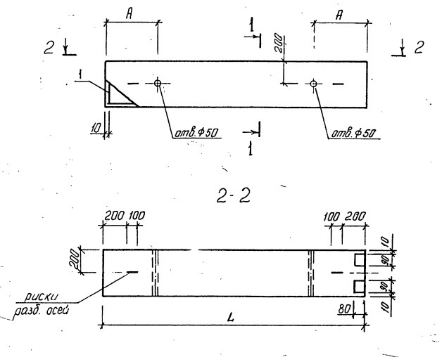
Колонна железобетонная 2КНО 60-60-5-40-00 из серии 1.020.1-4 предназначена для использования в строительстве как несущий элемент. Ее габариты составляют 60х60х500 см, что обеспечивает надежную поддержку конструкций на протяжении длительного времени. Колонна имеет высокую прочность и устойчивость к воздействию внешних нагрузок, что делает ее идеальным выбором для строительства зданий различного назначения.









